Замена платы управления Weinmann VENTImotion и VENTIlogic
Следуйте этому руководству по замене, чтобы заменить плату управления. Перед началом вам потребуется 3 мм шестигранный ключ и крестовая отвертка №1. Шагов больше, чем кажется, так как это руководство также перекрывает другие инструкции, такие как «открытие устройства», «замена дисплея» и «замена батареи платы управления». Рекомендую выделить время и запастись терпением для этой задачи. Также можно ознакомиться со страницей устранения неполадок устройства VENTImotion и VENTIlogic.
Для получения дополнительной информации о замене платы управления см. стр. 39 сервисного руководства.
Шаг 1

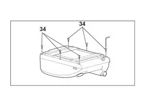
Откройте устройство
1) Поместите устройство на нескользящую поверхность верхней частью вниз.
2) Снимите кассету фильтра с верхней части корпуса.
3) Открутите и снимите 6 винтов (34)
Шаг 2
Снимите плату питания (см. Замена платы питания Weinmann VENTImotion и VENTIlogic)
Шаг 3

Отключите следующее
- разъём энкодера (82)
- разъёмы интерфейсов (84) и (85) платы управления.
Шаг 4

Отключите ленточный кабель дисплея и плёнку панели управления:
Выдвиньте фиксатор до упора, пока не почувствуете сопротивление. После этого можно вынуть ленточный кабель.
Если фиксатор не был открыт правильно, при вытягивании ленточный кабель может быть повреждён.
Шаг 5

Снимите шланги измерения потока (56) с датчика потока.
Шаг 6

Снимите шланги измерения давления (57) с датчиков давления.
Шаг 7

Вставьте новую батарею (52) в соответствующий держатель новой платы управления
Прикрутите пружину (54)
Шаг 8

Установите плату управления в верхнюю часть корпуса и закрепите её четырьмя винтами (51)
Шаг 9

Подсоедините шланги измерения давления (57) к датчикам давления.
Подключите датчик потока, маркированный Hi, к штуцеру, маркированному Hi, на выходе устройства.
Шаг 10

Подсоедините шланги измерения потока (56) к датчику потока
Подключите разъём датчика потока, маркированный Lo, к штуцеру, маркированному Lo, на выходе устройства.
Шаг 11

Чтобы шланги не перегибались, расположите шланги измерения потока (56) и шланги измерения давления (57), как показано.
Шаг 12

Подключите ленточный кабель для плёнки панели управления и дисплея к плате управления снова:
– вытащите фиксатор вверх.
– вставьте ленточный кабель в разъём.
– нажмите фиксатор обратно вниз
Шаг 13

Вставьте разъёмы интерфейсов и ручку управления в соответствующие слоты платы управления.
Шаг 14

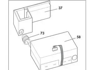
Установите обратно корпус и держатель фильтра.
Соедините корпус и держатель фильтра друг с другом, подключив всасывающий шланг (73) к обеим частям.
Установите корпус (58) и держатель фильтра (37) обратно на верхнюю часть корпуса вместе.
Подключите напорный шланг (74) от корпуса.
Шаг 15
Установите плату питания обратно Замена платы питания Weinmann VENTImotion и VENTIlogic
Шаг 16

Закройте устройство: Поднесите нижнюю часть корпуса (35) к боковой стороне верхней части корпуса (36)
Подключите соединительные кабели для увлажнителя (42) и сигнала тревоги (43) к соответствующим разъёмам.
Проверьте, что все шланги и кабели надежно подсоединены.
Установите нижнюю часть корпуса (35) на верхнюю часть корпуса (36). Убедитесь, что никакие кабели или шланги не защемлены и не перегнуты.
Теперь затяните верхнюю часть корпуса, используя 6 винтов (34).
Затем переверните устройство
Шаг 17
Проверьте контраст и при необходимости отрегулируйте.
Шаг 18
Сбросьте дату и время.
Установите дату в формате: Год, Месяц, День
Шаг 19
Протестируйте устройство.
Страница 13 инструкций по обслуживанию и ремонту VENTImotion & VENTIlogic содержит более подробную информацию.
Заключение
Для повторной сборки устройства выполните эти инструкции в обратном порядке.
Перевод руководства с ifixit.com