Замена фасции (плёнки) Weinmann VENTImotion и VENTIlogic
Следуйте этому руководству по замене, чтобы заменить фасцию (плёнку) вентилятора. Вам потребуется,
- алленовый ключ 3 мм
- крестовая отвертка, размер 1
- нож с гладким плоским лезвием
Эти шаги несложные, но их следует выполнять внимательно.
Для получения дополнительной информации по замене фасцевого фильтра обратитесь к странице 45 в сервисном руководстве.
Шаг 1

Откройте прибор
1. Поместите прибор на нескользящую поверхность верхней частью вниз
2. Снимите кассету фильтра с верхней части корпуса.
3. Отверните и снимите 6 винтов (34)
Шаг 2

Снимите блок питания сети
Отключите соединительный кабель платы питания/сетевого блока (45) от платы питания.
Немного приподнимите сетевой блок питания (44) и отключите входной сетевой разъём от сетевого блока питания (44).
Выведите сетевой блок питания из верхней части корпуса.
Отключите соединительный кабель платы питания/сетевого блока от сетевого блока питания.
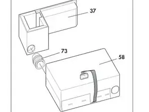
Шаг 3
Снимите плату питания. Weinmann VENTImotion and VENTIlogic Power Board Replacement
Шаг 4

Снимите корпус и держатель фильтра
Отсоедините напорный шланг (74) от корпуса.
Поднимите корпус (58) и держатель фильтра (37) из верхней части корпуса вместе.
Разъедините корпус и держатель фильтра, отвинтив всасывающий шланг (73) от обеих частей.
Шаг 5

Снимите плату управления и дисплей Weinmann VENTImotion and VENTIlogic Control Board Replacement
Отделите фасцию (плёнку) (33) при помощи лезвия ножа и аккуратно снимите её.
Используйте немного 70% изопропанола для обезжиривания этой части корпуса.
Шаг 6

Снимите защитную плёнку с внутренней стороны новой фасции и приклейте фасцию (33) на это место корпуса.
Убедитесь, что ленточный кабель выведен чисто через отверстие в корпусе без перегибов.
Шаг 7
Осторожно снимите наружную защитную плёнку с новой фасции ногтем.
Шаг 8
Установите дисплей и плату управления обратно Weinmann VENTImotion and VENTIlogic Control Board Replacement
Шаг 9

Установите корпус и держатель фильтра обратно.
Соедините корпус и держатель фильтра, снова подсоединив всасывающий шланг (73) к обеим частям.
Установите корпус (58) и держатель фильтра (37) обратно на верхнюю часть корпуса вместе.
Подсоедините напорный шланг (74) к корпусу.
Шаг 10
Установите плату питания обратно Weinmann VENTImotion and VENTIlogic Power Board Replacement
Шаг 11

Установите сетевой блок питания обратно
Подсоедините соединительный кабель платы питания/сетевого блока к сетевому блоку питания.
Установите сетевой блок питания обратно в верхнюю часть корпуса.
Подсоедините входной сетевой разъём к сетевому блоку питания (44).
Подсоедините соединительный кабель платы питания/сетевого блока (45) к плате питания.
Шаг 12

Закройте прибор
Поднесите нижнюю часть корпуса (35) к боковой стороне верхней части корпуса (36)
Подключите соединительные кабели для увлажнителя (42) и сигнала тревоги (43) к соответствующим разъёмам.
Проверьте, что все шланги и кабели надёжно подсоединены.
Поместите нижнюю часть корпуса (35) на верхнюю часть корпуса (36). Убедитесь, что никакие кабели или шланги не зажаты и не перегнуты.
Теперь затяните верхнюю часть корпуса, используя 6 винтов (34).
Затем переверните прибор обратно
Шаг 13
Проверьте прибор
Для подробной информации см. страницу 13 инструкции по обслуживанию и ремонту VENTImotion & VENTIlogic
Заключение
Для повторной сборки прибора выполните эти инструкции в обратном порядке.
Перевод руководства с ifixit.com