Замена фильтра вентилятора SOMNOcomfort и SOMNObalance
Смотрите страницу 11 в Инструкциях по обслуживанию и ремонту в разделе Документы на главной странице.
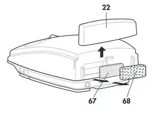
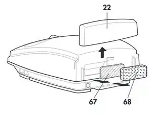
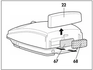
Шаг 1

Найдите отсек фильтра на задней панели вентилятора.
Шаг 2

Поднимите крышку отсека (22) вверх (снизу).
Шаг 3

Удалите фильтр грубой очистки (68).
Шаг 4

Удалите фильтр тонкой очистки (67).
Шаг 5
Установите новые фильтры и закройте крышку на задней панели устройства.
Шаг 6

Сбросьте индикатор изменения фильтра, нажав и удерживая выключатель (19), пока индикатор не погаснет.
Если фильтр тонкой очистки был заменен из-за загрязнения до 250 часов работы, счетчик часов необходимо сбросить на ноль. Для этого выполните следующие действия:
При включении устройства нажмите и удерживайте выключатель 19. Индикатор изменения фильтра загорится через примерно три секунды, а затем погаснет еще через три секунды. Отпустите выключатель.
Заключение
Для сборки устройства следуйте этим инструкциям в обратном порядке.
Перевод руководства с ifixit.com