Замена платы питания Weinmann VENTImotion и VENTIlogic
Следуйте этому руководству по замене, чтобы заменить плату питания. Плату питания необходимо заменить, если отсутствует звук работы и не отображаются индикаторы, или если в автоматическом режиме устройство не включается при вдохе. Для этого руководства вам потребуется ключ-шестигранник 3 мм. Будьте осторожны при отсоединении элементов, чтобы случайно не повредить их, и запоминайте, откуда вы их вынимали, чтобы облегчить повторную сборку. Шаги несложные, но их следует выполнять внимательно.
Для получения дополнительной информации о замене платы питания см. страницу 34 в сервисном руководстве.
Шаг 1

Откройте устройство, выполнив следующие действия:
Открывайте устройство только после отключения сетевого кабеля питания.
Разместите устройство на нескользящей поверхности верхней частью вниз.
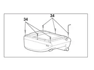
Снимите кассету фильтра с верхней части корпуса.
Выверните и снимите 6 винтов (34).
Отогните нижнюю часть корпуса (35) в сторону.
Отсоедините соединительные кабели увлажнителя (42) и сигнала тревоги (43).
Теперь можно отложить нижнюю часть корпуса (35) в сторону.
Шаг 2

Отсоедините соединительный кабель платы питания (45) от платы питания (41).
Шаг 3

Отсоедините кабель мотора.
Шаг 4

Отсоедините соединительный кабель клапана O2/платы питания (70) от платы питания.
Шаг 5
Отсоедините все соединительные кабели от платы управления.
Шаг 6
Снимите плату питания с верхней части корпуса.
Шаг 7

Выведите соединительный кабель аккумулятора с пазa и отсоедините его от платы питания (41).
Шаг 8

Отсоедините кабели со старой платы питания и подключите их в соответствующие разъёмы новой платы питания 41:
– соединительный кабель плата питания/плата управления (46)
– соединительный кабель аккумулятора (48)
– заземляющий кабель (47)
Шаг 9

Подключите соединительный кабель плата питания/блок питания (45) к новой плате питания.
Шаг 10
Установите новую плату питания в верхнюю часть корпуса.
Шаг 11

Восстановите подключение к плате управления.
Заключение
Для сборки устройства выполните указанные действия в обратном порядке.
Перевод руководства с ifixit.com