Замена ЖК-дисплея в мониторе жизненных показателей Welch Allyn Connex 6000
Используйте этот руководство для замены поврежденного или неработающего ЖК-дисплея в вашем мониторе жизненных показателей серии 6000 от Welch Allyn.
ПРИМЕЧАНИЕ: Этот ремонтный гид был разработан командой iFixit на основе собственного сервисного руководства Welch Allyn. Ни iFixit, ни этот ремонтный гид не одобрены и не связаны с Welch Allyn.
Шаг 1

Отключите кабель питания переменного тока.
Шаг 2


Поместите большой и указательный пальцы на разъем шланга для измерения артериального давления (NIBP). Сожмите боковые вкладки, пока разъем не освободится.
Всегда держите шланг за разъем. Не тяните за сам шланг.
Оттяните разъем от порта разъема.
Шаг 3


Поместите большой и указательный пальцы на разъем датчика пульсоксиметрии (SpO2 или комбинированного SpO2/SpHb). Сожмите боковые вкладки, пока разъем не освободится.
Всегда держите кабель за разъем. Не тяните за сам кабель.
Оттяните разъем от порта разъема.
Шаг 4

Потяните за датчик температуры, чтобы снять его с монитора.
Шаг 5


Снимите крышку модуля температуры, нажав на вкладку и сдвинув крышку вправо.
Шаг 6


Нажмите на пружинную вкладку разъема кабеля датчика температуры и извлеките его из порта датчика.
Шаг 7

Удалите винт с плоской головкой на двери USB-соединения.
Ослабьте закрепляющий винт Phillips #2, удерживающий монитор на подставке.
Шаг 8

Держите монитор надежно, откройте дверь USB-соединения.
Вам возможно придется немного приподнять монитор, чтобы дверь могла открыться от основания.
Шаг 9

Отсоедините любые дополнительные USB-кабели от USB-портов на мониторе.
Шаг 10


Сдвиньте монитор с поддона подставки.
Шаг 11


Положите монитор вверх дном на чистую поверхность.
Вставьте монету в прорезь и нажмите, чтобы открыть.
Выберите монету, которая удобно подходит для прорези.
Снимите крышку батарейного отсека.
Шаг 12


Используйте пластиковую лопатку, чтобы извлечь батарею из ее отсека.
Шаг 13

Откройте дверь связи, чтобы получить доступ к винту заднего корпуса в левом нижнем углу.
Удалите четыре винта Phillips #2 (обозначены 14 в сервисном руководстве) из заднего корпуса.
Шаг 14

С лицевой стороны, удерживая ручку/сигнальную панель перед собой, начните поднимать задний корпус с левой стороны, надежно удерживая правую сторону.
Не пытайтесь отделить задний корпус от монитора, он все еще соединен несколькими кабелями.
Шаг 15

Поддержите задний корпус, пока будете отключать кабели в следующих шагах.
Шаг 16


Отключите кабель вентилятора (обозначенный как разъем A в сервисном руководстве) от его гнезда в блоке питания.
Шаг 17


Отключите небольшой USB-разъем от его гнезда (обозначен как J4 в сервисном руководстве).
Шаг 18


Отключите кабель питания связи от его гнезда (обозначен как J50 в сервисном руководстве).
Тяните только за разъем, а не за гнездо. Это соединение очень тугое, работайте с разъемом медленно и осторожно.
Шаг 19


Отключите большой USB-разъем от его гнезда (обозначен как J8 в сервисном руководстве).
Шаг 20


Нажмите на язычок сетевого кабеля и отключите его от разъема (обозначен J9 в сервисном руководстве).
Шаг 21

Следующий разъем требует работы двумя руками для отключения. Переверните заднюю крышку и положите ее на спину, чтобы получить доступ к кабелю питания.
Шаг 22


Кабель питания закреплен замковым разъемом, который необходимо удерживать открытым для отключения.
Вставьте плоский конец лопатки между защёлкой разъема и разъемом блока питания.
Шаг 23


Удерживая кабель питания, поднимите его вместе с лопаткой из канала в корпусе блока питания, чтобы отключить разъем.
Шаг 24


Удалите все USB-разъемы из их портов на материнской плате.
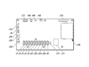
Обратите внимание на расположение USB перед удалением для удобства сборки. Места расположения USB, как показано в руководстве, представлены на третьем изображении. Ваша модель может отличаться в зависимости от опций.
Шаг 25

УберитеBundle USB-кабелей с дороги.
При сборке разместите каждый кабель так, чтобы он выходил примерно на 3.8 см за разделитель, как показано.
Шаг 26


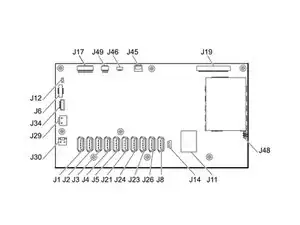
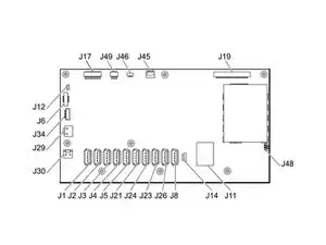
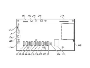
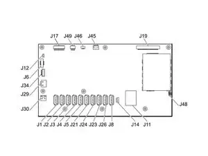
Используйте плоский конец лопатки, чтобы "пройти" разъем кабеля LCD (обозначен J19 в сервисном руководстве) из разъема.
Сначала нажмите на одну сторону разъема, затем на другую, чтобы освободить его. Убедитесь, что вы нажимаете на сам разъем, а не на разъем на материнской плате.
Вытяните кабель прямо из разъема.
Шаг 27


Сожмите разъем кабеля вентилятора (обозначен J45 в сервисном руководстве) и потяните прямо вверх, чтобы удалить его из разъема.
Убедитесь, что тянете только за разъем, а не за разъем на материнской плате.
Шаг 28


Вытяните разъем кабеля световой панели (обозначен J46 в сервисном руководстве) прямо вверх из разъема.
Шаг 29


Удалите разъем кабеля коммуникационной платы из разъема (обозначен J49 в сервисном руководстве).
Если в вашей модели есть принтер, удалите кабель питания принтера на этом этапе, он обозначен J17 в сервисном руководстве.
Шаг 30


Осторожно удалите разъем кабеля динамика (обозначен J12 в сервисном руководстве) с материнской платы.
Шаг 31


Поднимите зажим ZIF, закрепляющий кабель кнопки питания (обозначен J6 в сервисном руководстве) плоским концом лопатки, чтобы ослабить его.
Вытяните кабель кнопки питания прямо вверх из разъема.
Шаг 32


Удалите разъем кабеля умной батареи из разъема (обозначен J34 в сервисном руководстве).
Шаг 33


Сожмите разъем кабеля питания батареи и поднимите его прямо вверх, чтобы отвинтить от разъема на материнской плате (обозначен J29 в сервисном руководстве).
Шаг 34

Используйте плоский конец лопатки, чтобы отделить разъем кабеля питания батареи от разъема (обозначен J30 в сервисном руководстве).
Вытяните разъем кабеля питания батареи прямо вверх с платы.
Шаг 35

Осторожно вытяните гибкий кабель LCD прямо вверх из разъема на материнской плате (обозначен J48 в сервисном руководстве).
Шаг 36

Удалите восемь винтов Phillips #1 с материнской платы.
Винт, закрепляющий кронштейн сетевого кабеля, имеет шайбу между ним и кронштейном. Осторожно не потеряйте её.
Шаг 37


Поднимите материнскую плату со стороны световой панели и потяните её к краю корпуса, чтобы освободить разъем сетевого кабеля из под корпуса.
Поднимите материнскую плату из корпуса, чтобы получить доступ к разъему сетевого кабеля.
Не пытайтесь полностью снять плату, так как она все еще подключена к монитору.
Шаг 38

Снимите разъем сетевого кабеля (обозначенный J11 в сервисном руководстве) с материнской платы.
Шаг 39

Удалите два винта с головкой Phillips #2 на боковой панели нижнего корпуса.
Сверху винтов имеются отверстия, в которые вы можете вставить отвертку стандартного размера, чтобы открутить их.
Шаг 40

Удалите один винт с головкой Phillips #2 из нижнего корпуса рядом с решеткой динамика.
Шаг 41

Снимите нижний корпус.
Шаг 42

Удалите сетевой кабель или просто уберите его в сторону.
Шаг 43


Снимите кабель световой панели с крепления ЖК-дисплея и уберите его в сторону.
Во время сборки обратите внимание на третье изображение для замены скотча и кабелей.
Шаг 44


Снимите весь скотч с разъема кабеля ЖК-дисплея.
Для сборки обратитесь к третьему изображению для замены скотча и кабелей.
Шаг 45

Медленно и равномерно вытяните разъем кабеля ЖК-дисплея из его гнезда.
Шаг 46

Удалите четыре винта с головкой Phillips #2 с крепления ЖК-дисплея.
Шаг 47

Снимите крепление ЖК-дисплея.
Шаг 48

Используйте плоский конец лопатки, чтобы аккуратно поднять ЖК-дисплей из резиновой прокладки.
Шаг 49

Удалите ЖК-дисплей из передней крышки.
Заключение
Для сборки устройства следуйте этим инструкциям в обратном порядке.
Перевод руководства с ifixit.com