Обновление встроенного ПО модуля громкой связи Mitsubishi (электронный радиоприёмник AM/FM-ST с настройкой, CD-плеер, DY-1MU3R45-T и DY-1MU3R45-T-2)
В этом руководстве приведены пошаговые инструкции по обновлению прошивки модуля громкой связи (HFM) Mitsubishi. Поддерживая прошивку HFM в актуальном состоянии, вы обеспечиваете оптимальную работу, совместимость с новыми устройствами и доступ к последним функциям.
Обратите внимание, что после завершения обновления система будет сброшена, и следующая информация будет удалена:
- Данные телефонной книги
- Данные сопряжения
- Данные распознавания голоса
Шаг 1

Переведите ключ зажигания в положение ACC или ON.
Выключите радио и CD-плеер, кратко нажав на ручку PWR/VOL.
Шаг 2

Нажмите следующие кнопки в указанном порядке в течение шестидесяти секунд с момента выполнения Шага 1:
Кнопку 1 RPT.
Кнопку ⏮.
Кнопку ⏭.
Кнопку 4 ⏩.
На дисплее должно появиться DIAG MODE.
Если при входе в режим диагностики будет нажата неверная кнопка, за исключением обновления блока громкой связи, режим диагностики будет отменён, и радио с CD-плеером выключатся.
Находясь в режиме диагностики, звук с микрофона выводится напрямую через динамик.
Шаг 3

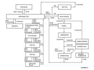
Поверните ручку ♪/SEL по часовой стрелке, чтобы отобразить HFM DIAG.
Нажмите на ручку ♪/SEL, чтобы отобразить HFM DIAG TOP.
Шаг 4

Поверните ручку ♪/SEL по часовой стрелке дважды, чтобы отобразить номер детали.
Дисплей должен показывать что-то вроде PN XXXXXXXX.
Он понадобится позже при загрузке файла прошивки.
Шаг 5

Поверните ручку ♪/SEL по часовой стрелке дважды, чтобы отобразить версию программного обеспечения.
Дисплей должен показывать что-то вроде S/W XXXXXXX.
Если номер версии — 19.00.000, у вас уже установлена последняя доступная прошивка и никаких действий не требуется.
Шаг 6

Вы можете скачать файлы прошивки здесь: версия 19.0.0 (Европа) и версия 19.0.0 (Япония и Северная Америка).
Проверьте, совместима ли версия прошивки с вашим устройством.
Скачайте прошивку для вашего устройства.
Нажмите SHOW ALL.
Скачайте файл update.package.
Шаг 7

Флеш-накопитель должен быть отформатирован в FAT32 и не превышать 16 ГБ. Кроме того, головное устройство может быть требовательным и не принимать все флеш-накопители. Если оно не читает ваш накопитель — попробуйте другой.
Скопируйте файл update.package в корневой каталог USB-накопителя.
Шаг 8

Вставьте USB-накопитель в один из USB-портов автомобиля.
Обычно порт USB находится в центральном тоннеле или под головным устройством.
Шаг 9

Повторно войдите в раздел HFM DIAG меню диагностики, повторив предыдущие шаги или нажав кнопку 6 ↩, пока отображается номер версии.
Инициализируйте обновление, нажав на ручку ♪/SEL.
Если на дисплее появляется NO FILE, значит накопитель не был прочитан.
Если на дисплее появляется HFM UPDATE, значит найден файл обновления на накопителе, и обновление начнётся через 3 секунды.
Шаг 10

Когда на дисплее появится CODE_, введите код безопасности с помощью цифровых кнопок.
Если код не установлен, можно ввести 1234.
Выполните следующие действия, чтобы снять код безопасности, если вы его забыли:
Вернитесь в HFM DIAG TOP, удерживая кнопку 6 ↩ длительным нажатием.
Принудительно снимите код безопасности, удерживая ручку ♪/SEL до тех пор, пока на дисплее не появится UNLOCK.
Через 3 секунды дисплей вернётся к HFM DIAG TOP. Теперь можно продолжить, повторив Шаг 9.
Шаг 11
Обновление начнётся через 3 секунды после ввода правильного кода безопасности.
Дождитесь окончания обновления.
Не вынимайте флеш-накопитель и не выключайте автомобиль во время обновления!
После завершения обновления на дисплее появится UPDATE COMPLETE.
Заключение
Безопасной дороги!
Перевод руководства с ifixit.com